ໃນເວລາທີ່ທ່ານໄດ້ຮັບຄ່າໃຊ້ຈ່າຍປະສິດທິພາບ pin split, ມັນອາດຈະມາພ້ອມກັບໃບຢັ້ງຢືນຄຸນນະພາບ. ນີ້ແມ່ນໂດຍພື້ນຖານເປັນເອກະສານທີ່ເວົ້າວ່າ pin ການແບ່ງປັນໄດ້ຮັບການກວດສອບແລະຕອບສະຫນອງມາດຕະຖານທີ່ແນ່ນອນ.
ໃບຢັ້ງຢືນລາຍຊື່ລາຍລະອຽດກ່ຽວກັບ pin ແຍກ - ຜູ້ທີ່ເຮັດມັນ, ມັນເຮັດມາຈາກຫຍັງ, ຂະຫນາດຂອງມັນ, ແລະຊຸດທີ່ມັນມາຈາກ. ມັນສະແດງໃຫ້ເຫັນວ່າ pin ແຍກໄດ້ຖືກທົດສອບສໍາລັບສິ່ງຕ່າງໆເຊັ່ນ: ຄວາມເຂັ້ມແຂງ, ຄວາມຖືກຕ້ອງຂອງຂະຫນາດ, ແລະວ່າມັນງໍຢ່າງຖືກຕ້ອງໂດຍບໍ່ມີການແຕກ. ພວກເຂົາຍັງກວດເບິ່ງວ່າການປິ່ນປົວພື້ນຜິວ, ຄືກັບການຊຸບສັງກະສີ, ແມ່ນເຮັດຢ່າງຖືກຕ້ອງ.
ໃບຢັ້ງຢືນແມ່ນເຊັນແລະປະທັບຕາໂດຍຜູ້ກວດກາຜູ້ທີ່ເຮັດການທົດສອບ. ເອກະສານນີ້ແມ່ນເປັນປະໂຫຍດສໍາລັບທຸລະກິດທີ່ຈໍາເປັນຕ້ອງພິສູດແຍກ pin ຂອງເຂົາເຈົ້າຕອບສະຫນອງຄວາມຕ້ອງການສະເພາະ, ໂດຍສະເພາະໃນອຸດສາຫະກໍາເຊັ່ນ: ລົດຍົນຫຼືການຜະລິດທີ່ການຕິດຕາມຄຸນນະພາບເປັນສິ່ງສໍາຄັນ. ໂດຍພື້ນຖານແລ້ວມັນເປັນການຮັບປະກັນຂອງທ່ານວ່າ pin ແຍກໄດ້ຖືກກວດສອບຢ່າງຖືກຕ້ອງກ່ອນທີ່ທ່ານຈະໄດ້ຮັບມັນ.
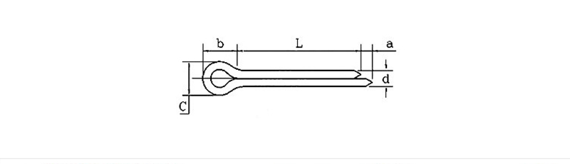
| d | 0.6 | 0.8 | 1 | 1.2 | 1.5 | 2 | 2.5 | 3.2 | 4 | 5 | 6.3 | 8 | 10 | 13 | 16 | 20 | |
| d | ສູງສຸດ | 0.5 | 0.7 | 0.9 | 1 | 1.4 | 1.8 | 2.3 | 2.9 | 3.7 | 4.6 | 5.9 | 7.5 | 9.5 | 12.4 | 15.4 | 19.3 |
| ນາທີ | 0.4 | 0.6 | 0.8 | 0.9 | 1.3 | 1.7 | 2.1 | 2.7 | 3.5 | 4.4 | 5.7 | 7.3 | 9.3 | 12.1 | 15.1 | 19 | |
| a | ສູງສຸດ | 1.6 | 1.6 | 1.6 | 2.5 | 2.5 | 2.5 | 2.5 | 3.2 | 4 | 4 | 4 | 4 | 6.3 | 6.3 | 6.3 | 6.3 |
| ນາທີ | 0.8 | 0.8 | 0.8 | 1.25 | 1.25 | 1.25 | 1.25 | 1.6 | 2 | 2 | 2 | 2 | 3.15 | 3.15 | 3.15 | 3.15 | |
| b≈ | 2 | 2.4 | 3 | 3 | 3.2 | 4 | 5 | 6.4 | 8 | 10 | 12.6 | 16 | 20 | 26 | 32 | 40 | |
| C | ສູງສຸດ | 1 | 1.4 | 1.8 | 2 | 2.8 | 3.6 | 4.6 | 5.8 | 7.4 | 9.2 | 11.8 | 15 | 19 | 24.8 | 30.8 | 38.5 |
| ນາທີ | 0.9 | 1.2 | 1.6 | 1.7 | 2.4 | 3.2 | 4 | 5.1 | 6.5 | 8 | 10.3 | 13.1 | 16.6 | 21.7 | 27 | 33.8 | |
A Cost Effective Pin Split ສ່ວນໃຫຍ່ແມ່ນໃຊ້ເພື່ອຮັກສາຊິ້ນສ່ວນຈາກການວ່າງຢູ່ໃນເຄື່ອງຈັກ, ລົດ, ແລະອຸປະກອນ. ໜ້າທີ່ຂອງມັນແມ່ນເພື່ອຢຸດສະລັອດ, ເພົາ, ຫຼື pins ອື່ນໆບໍ່ໃຫ້ເລື່ອນອອກເນື່ອງຈາກການສັ່ນສະເທືອນ. ຕົວຢ່າງເຊັ່ນ, ໃນລົດ, ເຈົ້າມັກຈະພົບເຫັນເຂັມຂັດຢູ່ໃນຫົວລໍ້ ຫຼືລະບົບລະງັບເພື່ອຊ່ວຍຮັກສາຄວາມປອດໄພ.
ໃນເຄື່ອງຈັກໂຮງງານ, ເຂັມແຍກອາດຈະຖືກນໍາໃຊ້ໃນ hinges ຫຼືຍ້າຍຂໍ້ຕໍ່ເພື່ອຮັກສາທຸກສິ່ງທຸກຢ່າງສອດຄ່ອງ. ໃນເຮືອ, ມັນສາມາດຖືຮາດແວເຊັ່ນ: ເກີບໃສ່ໃນບ່ອນ. ສໍາລັບການນໍາໃຊ້ປະຈໍາວັນ, ທ່ານອາດຈະໃຊ້ pin ແຍກເພື່ອຮັບປະກັນແຜ່ນໃບຫຍ້າຫຼື pedal ລົດຖີບ. ທ່ານພຽງແຕ່ຍູ້ຂາແຍກອອກຜ່ານຂຸມແລະງໍສອງງ່າອອກຈາກກັນ – ມັນເປັນວິທີທີ່ງ່າຍດາຍທີ່ຈະເຮັດໃຫ້ການເຊື່ອມຕໍ່ທີ່ຖືຢ່າງປອດໄພແຕ່ຍັງສາມາດເອົາອອກໄດ້ໃນເວລາທີ່ຈໍາເປັນ.
ຄໍາຖາມ: ທ່ານສາມາດສະຫນອງໃບຢັ້ງຢືນສໍາລັບ pin ການແບ່ງປັນປະສິດທິພາບຄ່າໃຊ້ຈ່າຍຂອງທ່ານບໍ?
ຄໍາຕອບ: ແມ່ນແລ້ວ, ພວກເຮົາສາມາດໃຫ້ໃບຢັ້ງຢືນວັດສະດຸສໍາລັບ pin ໄດ້. ມັນສະແດງໃຫ້ເຫັນວ່າພວກເຮົາຕອບສະຫນອງມາດຕະຖານເຊັ່ນ ISO 1234. ນີ້ເຮັດໃຫ້ແນ່ໃຈວ່າ pins ແຍກທີ່ທ່ານໄດ້ຮັບການກວດສອບກັບ specs ກົນຈັກແລະຂະຫນາດທີ່ພວກເຮົາຕົກລົງເຫັນດີ.
