ການຫຸ້ມຫໍ່ bolt Hexagonal Fastening ທີ່ປອດໄພໄດ້ຖືກອອກແບບເພື່ອໃຫ້ພວກມັນເປັນລະບຽບແລະປ້ອງກັນຄວາມເສຍຫາຍ. ກ່ອງບັນຈຸພັນເຫຼົ່ານີ້ມາພ້ອມກັບຜ້າອ່ອນໆທີ່ມີຊ່ອງສຽບ. bolts ນັ່ງຢູ່ໃນພວກເຂົາຫົວຕໍ່ຫົວ, ສະນັ້ນແຕ່ລະປະຕູ hex ຄົງຢູ່. ນີ້ເຮັດໃຫ້ພວກເຂົາໄວທີ່ຈະເລືອກເອົາແລະວາງແລະປ້ອງກັນຮອຍຂີດຂ່ວນໃດໆໃນການຂົນສົ່ງ. ສໍາລັບການຂົນສົ່ງຈໍານວນຫຼາຍ, bolts hexagonal ມັກຈະບັນຈຸ 500 ຕ່ອນຕໍ່ຖົງ. ຫຼັງຈາກນັ້ນ, ຖົງເຫຼົ່ານີ້ຖືກໃສ່ເຂົ້າໄປໃນກ່ອງພາຍໃນແລະກໍລະນີໄມ້ເສີມເພື່ອເຮັດໃຫ້ການໂຫຼດມີຄວາມຫມັ້ນຄົງ. ສໍາລັບອຸດສາຫະກໍາທີ່ສໍາຄັນ, ທາງເລືອກໃນການຫຸ້ມຫໍ່ທີ່ມີສະເປັກສູງອາດຈະຕອບສະຫນອງມາດຕະຖານການທະຫານທີ່ເຄັ່ງຄັດ. ນີ້ສາມາດປະກອບມີຖົງປະທັບຕາ, ກັນນ້ໍາ, ແລະກັນນ້ໍາທີ່ປົກປ້ອງ bolts ຈາກການກັດກ່ອນໃນລະຫວ່າງການເກັບຮັກສາແລະການຂົນສົ່ງ.
ເກຣດຂອງລູກປືນ hex ສະແດງໃຫ້ເຫັນເຖິງຄວາມເຂັ້ມແຂງຂອງມັນ. ເຄື່ອງຫມາຍຊັ້ນຮຽນເຫຼົ່ານີ້ແມ່ນຢູ່ເທິງຫົວຂອງ bolts ເພື່ອກໍານົດໄດ້ງ່າຍ. ເກຣດ ISO ທົ່ວໄປລວມມີ 4.6, 8.8, 10.9, ແລະ 12.9.ເກຣດ 8.8 ເປັນສາຍລັອດທີ່ມີຄວາມແຮງປານກາງທົ່ວໄປ, ໃນຂະນະທີ່ 10.9 ແລະ 12.9 ມີຄວາມເຂັ້ມແຂງສູງ ແລະໃຊ້ໃນພື້ນທີ່ທີ່ຕ້ອງການເຊັ່ນ: ລົດ ແລະການກໍ່ສ້າງ. ມາດຕະຖານ ASTM ເຊັ່ນ A307 ແລະ A325 ຍັງກໍານົດການປະຕິບັດ bolt. ການເລືອກລູກກອດ Hexagonal fastening ຊັ້ນທີ່ຖືກຕ້ອງແມ່ນສໍາຄັນສໍາລັບຄວາມປອດໄພ, ເນື່ອງຈາກວ່າມັນຮັບປະກັນວ່າ bolt ສາມາດຮັບມືກັບການໂຫຼດໄດ້ໂດຍບໍ່ມີການລົ້ມເຫລວ.
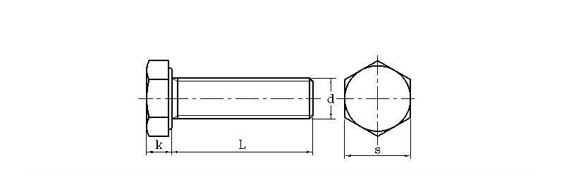
| ມມ | |||||||
| d | S | k | d | ກະທູ້ | |||
| ສູງສຸດ | ນາທີ | ສູງສຸດ | ນາທີ | ສູງສຸດ | ນາທີ | ||
| M3 | 5.32 | 5.5 | 1.87 | 2.12 | 2.87 | 2.98 | 0.5 |
| M4 | 6.78 | 7 | 2.67 | 2.92 | 3.83 | 3.98 | 0.7 |
| M5 | 7.78 | 8 | 3.35 | 3.65 | 4.82 | 4.97 | 0.8 |
| M6 | 9.78 | 10 | 3.85 | 4.14 | 5.79 | 5.97 | 1 |
| M8 | 12.73 | 13 | 5.15 | 5.45 | 7.76 | 7.97 | 1.25 |
| M10 | 15.73 | 16 | 6.22 | 6.58 | 9.73 | 9.96 | 1.5 |
| M12 | 17.73 | 18 | 7.32 | 7.68 | 11.7 | 11.96 | 1.75 |
| M14 | 20.67 | 21 | 8.62 | 8.98 | 13.68 | 13.96 | 2 |
| M16 | 23.67 | 24 | 9.82 | 10.18 | 15.68 | 15.96 | 2 |
| M18 | 26.67 | 27 | 11.28 | 11.7 | 17.62 | 17.95 | 2.5 |
| M20 | 29.67 | 30 | 12.28 | 12.71 | 19.62 | 19.95 | 2.5 |
ທ່ານສາມາດອະທິບາຍການດິນຟ້າອຸປະກອນການແລະທາງເລືອກໃນການປ້ອງກັນ corrosion ສໍາລັບການທີ່ປອດໄພຂອງທ່ານ bolts hexagonal fastening?
ພວກເຮົາຜະລິດ bolts hex ຂອງພວກເຮົາໃນວັດສະດຸທີ່ແຕກຕ່າງກັນເຊັ່ນ: ເຫຼັກກາກບອນຕ່ໍາ, ເຫຼັກໂລຫະປະສົມທີ່ເຂັ້ມແຂງ, ແລະສະແຕນເລດ (A2-304 ແລະ A4-316). ສໍາລັບການປ້ອງກັນ rust, ພວກເຮົາສະເຫນີການເຄືອບເຊັ່ນ: ສັງກະສີ electro-galvanized, galvanizing ອາບນ້ໍາຮ້ອນ, ແລະ Dacromet. ການເລືອກເຄື່ອງເຄືອບດິນເຜົາທີ່ເໝາະສົມແມ່ນມີຄວາມສຳຄັນຕໍ່ໄລຍະເວລາຂອງສາຍປະຕູ, ໂດຍສະເພາະໃນສະຖານທີ່ທີ່ຫຍຸ້ງຍາກເຊັ່ນ: ສະຖານທີ່ກໍ່ສ້າງ ຫຼືໃກ້ກັບທະເລ.
